SPEC20k Potencjometr wieloobrotowy 20k SPECTROL 534
Cena regularna:
towar niedostępny
dodaj do przechowalni
Opis
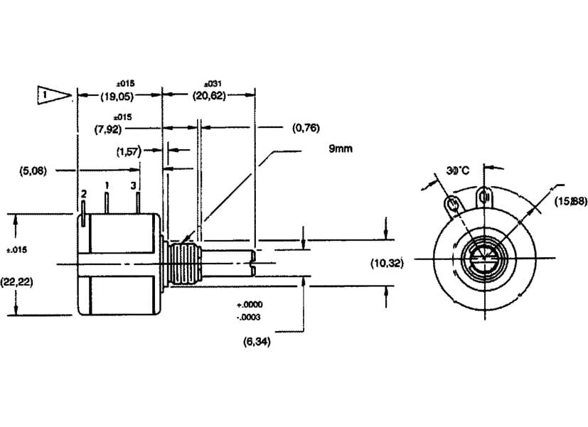
SPEC20k Potencjometr wieloobrotowy 20k SPECTROL 534
- Producent: VISHAY
- Typ potencjometru: osiowy
- Rodzaj potencjometru: wieloobrotowy
- Rezystancja: 20kΩ
- Moc: 2W
- Tolerancja: ±5%
- Średnica osi: 6,35mm
- Wymiary korpusu: Ø22,22x19mm
- Seria potencjometrów: 534
- Materiał ścieżki: drutowy
- Ilość obrotów elektr.: 10
- Długość osi: 12,7mm
- Właściwości potencjometrów: precyzyjny
- Tolerancja liniowości: ±0,25%
- Temperatura pracy: -55...125°C
- Powierzchnia osi: gładka
- Rezystancja izolacji min.: 1000MΩ
- Długość gwintu: 8mm
- Współczynnik temperaturowy: 20ppm/°C
- Długość osi L: 20,7mm
- Masa: 23g
Dane techniczne
| rodzaj | osiowe wieloobrotowe |
| rezystancja | 20k |
| moc | 2W |
