RADL65103TL-10 Dioda laserowa moc 10mW, 645÷660nm, czerwona
Cena regularna:
towar niedostępny
dodaj do przechowalni
Opis
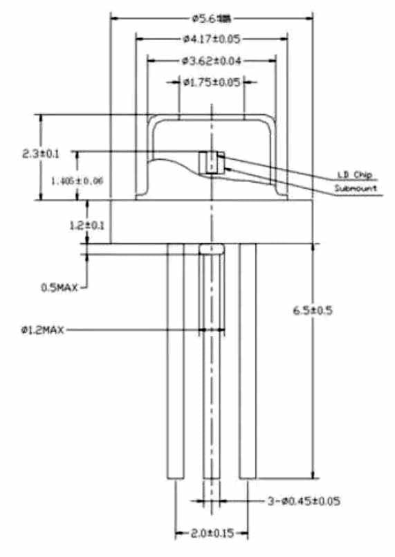
RADL65103TL-10 Dioda laserowa moc 10mW
- Producent Laser Components
- Typ diody laserowa
- Długość fali λd Wavelength 645...660nm
- Moc 10mW
- Rozbieżność wiązki 6/25
- Obudowa TO18
- Prąd pracy 31mA
- Wspólna elektroda LDA=PDK
- Wysokość 3,5mm
- Montaż THT
- Temperatura pracy -10...50°C
- Średnica podstawy 5,6mm
- Kolor czerwony
